ʹÓÃWS-Discovery¾ÙÐз´Éä¹¥»÷£¿¾ÅÓÎÀÏ¸ç¿Æ¼¼ÍþвÇ鱨ÖÐÐÄÒÑÖ§³ÖÏà¹Ø¼ì²â
2020-04-30
WS-Discovery£¨Web Services Dynamic Discovery£¬¼ò³ÆWSD£©ÊÇÒ»ÖÖ¾ÖÓòÍøÄڵķþÎñ·¢Ã÷¶à²¥ÐÒ飬¿ÉÊÇÓÉÓÚ×°±¸³§É̵ÄÉè¼Æ²»µ±£¬µ±Ò»¸öÕý³£µÄIPµØµã·¢ËÍ·þÎñ·¢Ã÷±¨ÎÄʱ£¬×°±¸Ò²»á¶ÔÆä¾ÙÐлØÓ¦£¬¼ÓÖ®×°±¸Ì»Â¶ÔÚ»¥ÁªÍøÉÏ£¬Ôò¿É±»¹¥»÷ÕßÓÃÓÚDDoS·´Éä¹¥»÷¡£
WS-Discovery·´Éä¹¥»÷×îÔçÓÚ2019Äê2ÔÂÓɺ£ÄÚÇå¾²Ñо¿Ö°Ô±Åû¶£¬´Ó2019ÄêϰëÄê×îÏÈ£¬Ê¹ÓÃÆä¾ÙÐз´Éä¹¥»÷µÄÊÂÎñÏÔ×ÅÔö¶à¡£¾ÅÓÎÀÏ¸ç¿Æ¼¼ÍþвÇ鱨ÖÐÐÄ£¨NTI£©¶Ô¸Ã¹¥»÷Ò»Á¬¼à¿Ø£¬ÒÑÖ§³Ö¶ÔWS-Discovery·´Éä¹¥»÷µÄÏà¹Ø¼ì²â¼°²â»æÊý¾Ý¼ìË÷£¬¿ÉÌṩ×îÐÂWSD̻¶×ʲúÇ鱨²¢Ò»Á¬¸üС£
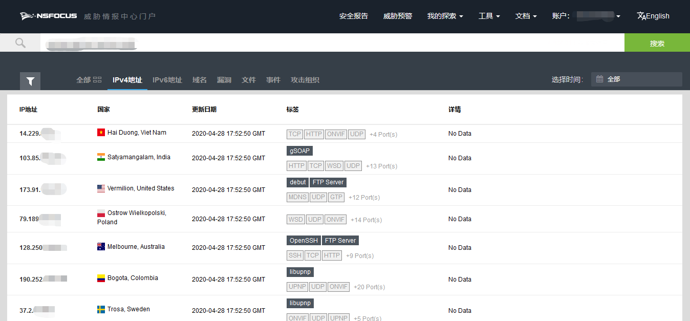
ͨ¹ýÌØ¶¨Ìõ¼þ¼ìË÷£¬¿ÉÔÚNTI»ñÈ¡Ïà¹Ø²â»æÊý¾ÝÁÐ±í¡£

ÆäÖУ¬Ä³¸ö¼ÓÈëDDoS¹¥»÷µÄIPչʾÈçÏ£º

A10 NetworksÔÚÆäÑо¿±¨¸æÖÐÌáµ½WS-DiscoveryµÄ̻¶ÊýĿλ¾Ó¿É±»ÓÃÓÚ·´Éä¹¥»÷µÄ·þÎñµÄµÚÈý룬½ö´ÎÓÚSNMPºÍSSDP£¬¸ßÓÚTFTPºÍDNS Resolver¡£ÓÉÓÚWS-Discovery·´Éä¹¥»÷Σº¦ÖØ´ó£¬2019Ä꣬¾ÅÓÎÀÏ¸ç¿Æ¼¼¸ñÎïʵÑéÊÒ¾Í¶ÔÆä¾ÙÐÐÁËÉîÈëÆÊÎö£¬²¢ÔÚ2020Äê¶ÔWS-DiscoveryµÄ̻¶ÊýÄ¿ºÍÍþвÊý¾Ý¾ÙÐÐÁ˸üУ¬Í¬Ê±¼ÓÈëÁ˾ÅÓÎÀÏ¸ç¿Æ¼¼¹ú¼ÊÔÆÏ´åªÖеÄDDoS¸æ¾¯Êý¾Ý£¬ÆÊÎö³öWS-Discovery·´Éä¹¥»÷µÄ×îÐÂÐÅÏ¢¡£
¸ñÎïʵÑéÊÒ½ÓÄɾÅÓÎÀÏ¸ç¿Æ¼¼ÍþвÇ鱨ÖÐÐÄ£¨NTI£©ÔÚ2020Äê3ÔµÄÒ»ÂÖÍêÕû²â»æÊý¾Ý¶ÔWS-Discovery·þÎñµÄ̻¶ÇéÐξÙÐÐÁËÆÊÎö£¬Òªº¦·¢Ã÷ÈçÏ£º
- È«ÇòÓÐÔ¼80Íò¸öIP¿ª·ÅÁËWS-Discovery·þÎñ£¬±£´æ±»Ê¹ÓþÙÐÐDDoS¹¥»÷µÄΣº¦£¬ÆäÖÐÓÐÔ¼70ÍòÊÇÊÓÆµ¼à¿Ø×°±¸£¬Ô¼Õ¼×ÜÁ¿µÄ87.7%¡£
- ¿ª·ÅWS-Discovery·þÎñµÄ×°±¸Ì»Â¶ÊýÄ¿×î¶àµÄÎå¸ö¹ú¼ÒÒÀ´ÎÊÇÖйú¡¢º«¹ú¡¢Ô½ÄÏ¡¢°ÍÎ÷ºÍÃÀ¹ú¡£¶øÆäÖеÄÊÓÆµ¼à¿Ø×°±¸Ì»Â¶ÊýÄ¿£¬ÓÖÒÔÔ½ÄÏ×î¶à¡£
- ËäÈ»¿ª·ÅWS-Discovery·þÎñµÄIP½ü°ÙÍò£¬¿ÉÊÇÕæÕý¼ÓÈëDDoS¹¥»÷µÄ²¢Î´¼¸¡£Ö÷ÒªÔµ¹ÊÔÓÉÊÇ£¬´ó²¿·ÖIP¶¼²»»á¶Ô¹¥»÷ÕßÔÚ¹¥»÷ÖÐËù½ÓÄɵĶÌ×Ö½Ú¹¥»÷ÔØºÉ¾ÙÐлØÓ¦¡£È¥Ä걨¸æÖÐÌáµ½µÄÈý×Ö½Ú¹¥»÷ÔØºÉ£¬½öÓв»µ½3ÍòµÄIP¾ÙÐÐÁË»ØÓ¦¡£
- ͨ¹ý¶ÔDDoS¸æ¾¯ÈÕÖ¾ÖеÄÊÂÎñ¡¢Ô´IPºÍÊܺ¦Õß¾ÙÐÐÆÊÎö£¬ÎÒÃÇ·¢Ã÷£¬2020ÄêQ1£¬Êܺ¦ÕßÊýÎÞÏÔ×Åת±äÇ÷ÊÆ£¬¿ÉÊÇ3Ô·ÝÏà±ÈǰÁ½¸öÔ£¬¹¥»÷ÕßʹÓÿª·ÅWS-Discovery·þÎñµÄIP¾ÙÐз´Éä¹¥»÷µÄÊýÄ¿ÓÐÁ˽ϴó·ù¶ÈµÄÔöÌí£¬µ¥ÈÕIPÊý×î¸ßµÖ´ïÁË1.9Íò¡£
- ¾ÅÓÎÀÏ¸ç¿Æ¼¼¹ú¼ÊÔÆÏ´åªÊý¾ÝÏÔʾ£¬¹²ÓÐ13¸ö¹ú¼ÒÊܵ½¹ýDDoS¹¥»÷£¬ÆäÖУ¬°ÍÎ÷ÊÇÊܺ¦×îÑÏÖØµÄ¹ú¼Ò£¬°ÍÎ÷µÄÊܺ¦ÕßIPÕ¼×ÜÊýµÄ41%¡£
- WS-DiscoveryÏà¹ØµÄIP³ý¼ÓÈë·´Éä¹¥»÷Í⣬ÉÐÓÐÉÙÁ¿IP¼ÓÈëÁËÆäËü¶àÖÖÀàÐ͵ÄDDoS¹¥»÷¡£ÕâÒ²Ò»¶¨Ë®Æ½ÉÏ˵Ã÷£¬WS-DiscoveryÏà¹ØµÄ×°±¸¿ÉÄÜ»¹±£´æÆäËüÎó²î£¬´Ó¶ø³ÉΪÁ˽©Ê¬ÍøÂçµÄ½Úµã¡£
- ¹¥»÷ÕßÔÚ¾ÙÐÐWS-Discovery·´Éä¹¥»÷ʱ£¬Í¨³£²»»á½ÓÄÉÕýµ±µÄ·þÎñ·¢Ã÷±¨ÎÄ×÷Ϊ¹¥»÷ÔØºÉ£¬¶øÊÇʵÑéͨ¹ýһЩ³¤¶ÈºÜ¶ÌµÄÔØºÉÀ´¾ÙÐй¥»÷¡£ÔÚÈ¥ÄêµÄ±¨¸æÖУ¬·ºÆð×î¶àµÄÊÇÒ»¸öÈý¸ö×ֽڵĹ¥»÷ÔØºÉ£¬Ô¼Õ¼ËùÓй¥»÷ÈÕÖ¾ÊýÄ¿µÄÈý·ÖÖ®¶þ¡£¶øÔÚ½ñÄ꣬ÎÒÃÇ·¢Ã÷¹¥»÷ÔØºÉ·ºÆð³öÁ˶àÑùÐÔ£¬·ºÆð×î¶àµÄÊÇÒ»¸öÎå¸ö×ֽڵĹ¥»÷ÔØºÉ£¬Ô¼Õ¼ËùÓй¥»÷ÈÕÖ¾ÊýÄ¿µÄ27.0%£¬È¥ÄêµÄËÈËÈý¸ö×ֽڵĹ¥»÷ÔØºÉ£¬Õ¼±È±äΪÁË22.0%£¬ÅÅÔÚÁ˵ڶþλ¡£
¡¶2020ÄêQ1 WS-Discovery·´Éä¹¥»÷ÊӲ졷±¨¸æÏêϸÄÚÈݵã»÷ÔĶÁÔÎÄ»ñÈ¡¡£
£¨ÔĶÁÔÎÄÁ´½Ó£ºhttps://nti.nsfocus.com/pdf/2020_Q1_WSD_Reflection_attack_analysis.pdf£©
¾ÅÓÎÀÏ¸ç¿Æ¼¼¸ñÎïʵÑéÊÒ
¸ñÎïʵÑéÊÒרעÓÚ¹¤Òµ»¥ÁªÍø¡¢ÎïÁªÍøºÍ³µÁªÍøÈý´óÓªÒµ³¡¾°µÄÇå¾²Ñо¿¡£ ÖÂÁ¦ÓÚÒÔ³¡¾°Îªµ¼Ïò£¬ÖÇÄÜ×°±¸ÎªÖÐÐĵÄÎó²îÍÚ¾ò¡¢Ñо¿ÓëÇå¾²ÆÊÎö£¬¹Ø×¢ÎïÁªÍø×ʲú¡¢Îó²î¡¢ÍþвÆÊÎö¡£ÏÖÔÚÒÑÐû²¼¶àƪÑо¿±¨¸æ£¬°üÀ¨¡¶ÎïÁªÍøÇå¾²°×ƤÊé¡·¡¢¡¶ÎïÁªÍøÇå¾²Ä걨2017¡·¡¢¡¶ÎïÁªÍøÇå¾²Ä걨2018¡·¡¢¡¶ÎïÁªÍøÇå¾²Ä걨2019¡·¡¢¡¶º£ÄÚÎïÁªÍø×ʲúµÄ̻¶ÇéÐÎÆÊÎö¡·¡¢¡¶ÖÇÄÜ×°±¸Çå¾²ÆÊÎöÊֲᡷµÈ¡£Óë²úÆ·ÍŶÓÍŽáÍÆ³ö¾ÅÓÎÀϸçÎïÁªÍøÇå¾²·ç¿ØÆ½Ì¨£¬¶¨Î»ÔËÓªÉÌÐÐÒµÎïÁªÍø¿¨µÄΣº¦¹Ü¿Ø£»ÍƳö¹Ì¼þÇå¾²¼ì²âƽ̨£¬ÒÔ±ã¿ìËÙ·¢Ã÷×°±¸ÖпÉÄܱ£´æµÄÎó²î£¬ÒÔ×èÖ¹ÒòÈõ¿ÚÁî¡¢Òç³öµÈÎó²îÒýÆð×°±¸¿ØÖÆÈ¨ÏÞµÄй¶¡£
¾ÅÓÎÀÏ¸ç¿Æ¼¼·üӰʵÑéÊÒ
·üӰʵÑéÊÒרעÓÚÇå¾²ÍþвÓë¼à²âÊÖÒÕÑо¿¡£ Ñо¿Ä¿µÄ°üÀ¨½©Ê¬ÍøÂçÍþв£¬DDoS¶Ô¿¹£¬WEB¶Ô¿¹£¬Ê¢ÐзþÎñϵͳųÈõʹÓÃÍþв¡¢Éí·ÝÈÏÖ¤Íþв£¬Êý×Ö×ʲúÍþв£¬ÐþÉ«¹¤ÒµÍþв¼°ÐÂÐËÍþв¡£Í¨¹ýÕÆ¿ØÏÖÍøÍþвÀ´Ê¶±ðΣº¦£¬»º½âÍþвΣÏÕ£¬ÎªÍþв¶Ô¿¹Ìṩ¾öÒéÖ§³Ö¡£
¾ÅÓÎÀÏ¸ç¿Æ¼¼ÍþвÇ鱨ÖÐÐÄ
¾ÅÓÎÀÏ¸ç¿Æ¼¼ÍþвÇ鱨ÖÐÐÄ£¨NSFOCUS Threat Intelligence center, NTI£©ÒÀÍй«Ë¾×¨ÒµµÄÇå¾²ÍŶӺÍǿʢµÄÇå¾²Ñо¿ÄÜÁ¦£¬¶ÔÈ«ÇòÍøÂçÇå¾²ÍþвºÍÌ¬ÊÆ¾ÙÐÐÒ»Á¬ÊÓ²ìºÍÆÊÎö£¬ÒÔÍþвÇ鱨µÄÉú²ú¡¢ÔËÓª¡¢Ó¦ÓõÈÄÜÁ¦¼°Òªº¦ÊÖÒÕ×÷Ϊ½¹µãÑо¿ÄÚÈÝ£¬ÍƳöÁ˾ÅÓÎÀϸçÍþвÇ鱨ƽ̨ÒÔ¼°Ò»ÏµÁм¯³ÉÍþвÇ鱨µÄÐÂÒ»´úÇå¾²²úÆ·£¬ÎªÓû§Ìṩ¿É²Ù×÷µÄÇ鱨Êý¾Ý¡¢×¨ÒµµÄÇ鱨·þÎñºÍ¸ßЧµÄÍþв·À»¤ÄÜÁ¦£¬×ÊÖúÓû§¸üºÃµØÏàʶºÍÓ¦¶ÔÖÖÖÖÍøÂçÍþв¡£

¾ÅÓÎÀϸçÔÆ





